Su amor por el cine y su inseparable botana, las palomitas, lo convirtieron en millonario. Esta es la historia de Bric Simpson, fundador de la empresa Kernel King.
Antes de convertirse en emprendedor, Bric era un asistente asiduo de los cines de su barrio. Sin embargo, una tarde de películas, su vida dio un salto cuántico.
Relacionado: ¿Cuánto necesitas ahorrar diariamente para ser millonario a los 65?
Una noche cualquiera, junto a su esposa, Bric descubrió que le era muy complicado mezclar adecuada sus palomitas con la mantequilla líquida que tanto le gustaba.
Antes de que comenzara la función de esa noche, Bric le dijo a su esposa: '¿sabes? Creo que necesito una tapa'. Ese fue el 'momento eureka' del que un par de años más tarde sería el fundador de su propia empresa.

Luego de diseñar varios prototipos en un taller casero, Simpson creó una tapa que vendió a un cine local administrado por alguien que, curiosamente, buscaba una solución al 'problema' de los condimentos mal distribuidos en las palomitas de sus clientes.
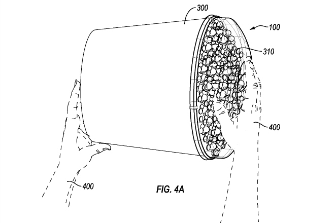
El producto que le permitió a Bric fundar su empresa fue una tapa de plástico transparente con el tamaño ideal para adaptarse a la mayoría de los botes de cartón de las palomitas.
La tapa pronto se comenzó a vender en varias cadenas de cines, lo que le permitió a Simpson cumplir su sueño de tener su propio negocio y lograr que sus palomitas tuvieran la misma cantidad de mantequilla sin importar si estaban al fondo del bote o hasta arriba.
Hoy, Kernel King vende más de 100 mil tapas cada mes sólo en Estados Unidos y su fundador está confiado de que pronto doblará sus ventas gracias a su invento.
Bric Simpson contó su historia en una entrevista para Entrepeneur.com, misma que puedes consultar en su totalidad dando
clic aquí.
También te interesará: Así es como un montón de hippies fundaron un negocio multimillonario